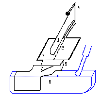
2.
Repère
* pour avoir la tête du putter bien horizontale
lorsque le point 1 est réalisé
|

|
5. Miroir
Orientable
* pour tenir compte :
. de votre morphologie
. de vos habitudes dans le placement de la balle
. de la distance de l'objectif à viser
|
3.
Miroir
* pour bien voir l'objet visé
* pour avoir, à I'adresse, la bonne direction de
visée et le putter
* pour s'assurer une frappe de balle au point
d'équilibre du putter
perpendiculaire à cette direction lorsque les
points 1 et 2 sont réalisés.
|
POUR
ETRE
LE
MEILLEUR
|
6. Zone de Frappe
réduite
* pour s'assurer une frappe de balle au point
d'équilibre du putter
|